โพลาไรเซอร์: "ผู้เฝ้าประตูแบบออปติคอล" ของหน้าจอ LCD

เมื่อคุณชื่นชมภาพที่มีชีวิตชีวาบนหน้าจอ LCD ฟิล์มบางๆ ที่ดูธรรมดาจะมีบทบาทสำคัญแต่มักมองไม่เห็น นั่นคือโพลาไรเซอร์ ส่วนประกอบออปติคัลที่ซับซ้อนนี้ทำหน้าที่เป็น "ผู้เฝ้าประตู" ที่แม่นยำ โดยควบคุมการเข้าและออกของแสงอย่างพิถีพิถัน ทำให้เป็นสิ่งที่ขาดไม่ได้สำหรับเทคโนโลยีจอภาพคริสตัลเหลว (LCD)


ประตูไฟสองทิศทาง

LCD อาศัยหน่วยแบ็คไลท์ในการส่องสว่าง หน้าที่หลักของโพลาไรเซอร์มีสองเท่า:

การกรองอินพุต (โพลาไรเซอร์ด้านล่าง): แปลงแสงธรรมชาติที่ไม่โพลาไรซ์ที่วุ่นวายจากแบ็คไลท์ให้เป็นแสงโพลาไรซ์โดยมีทิศทางการสั่นสม่ำเสมอ

การควบคุมเอาต์พุต (โพลาไรเซอร์ด้านบน): โดยทั่วไปจะวางแนว 90 องศาตั้งฉากกับโพลาไรเซอร์ด้านล่าง แสงสามารถผ่านไปได้ก็ต่อเมื่อโมเลกุลคริสตัลเหลวหมุนทิศทางโพลาไรเซชันได้สำเร็จเพื่อให้ตรงกับ "เงื่อนไขการผ่าน" ของโพลาไรเซอร์ด้านบน ทำให้เกิดรูปแบบแสง/มืดที่ก่อตัวเป็นภาพที่มองเห็นได้

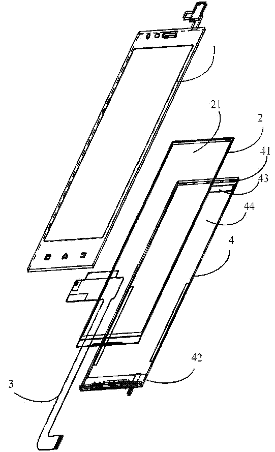
โครงสร้าง "แซนวิช" ห้าชั้นที่แม่นยำ

โพลาไรเซอร์เป็นส่วนประกอบที่ได้รับการออกแบบทางวิศวกรรมอย่างแม่นยำซึ่งประกอบด้วยชั้นการทำงาน 5 ชั้น:

ฟิล์ม TAC (Triacetyl Cellulose - ชั้นบนและล่าง): ทำหน้าที่เป็น "เกราะป้องกันที่แข็งแกร่ง" และ "ตัวชดเชยแสง" ให้การปกป้องทางกายภาพ (การขีดข่วน ความต้านทานต่อความชื้น) และชดเชยความผิดเพี้ยนของแสงเนื่องจากคุณสมบัติการหน่วงของแสงต่ำ ทำให้มั่นใจได้ถึงความบริสุทธิ์ของสีและการบิดเบือนของภาพน้อยที่สุด

ฟิล์ม PVA (โพลีไวนิลแอลกอฮอล์ - ชั้นหลัก): "เครื่องกำเนิดแสงโพลาไรซ์" ผ่านการยืดและการย้อมสี (ไอโอดีนหรือไดโครอิก) สายโซ่โมเลกุลของมันจะเรียงตัวกัน ทำให้เกิดไดโครอิกที่รุนแรง โดยดูดซับคลื่นแสงในทิศทางการสั่นสะเทือนเดียว ขณะเดียวกันก็ส่งคลื่นที่ตั้งฉากไปยังมัน ทำให้เกิดแสงโพลาไรซ์ได้อย่างมีประสิทธิภาพ ประสิทธิภาพเป็นตัวกำหนดประสิทธิภาพของโพลาไรเซอร์ (ระดับโพลาไรเซชัน) และการส่งผ่าน

กาวไวต่อแรงกด (PSA): "สารยึดเกาะที่มองไม่เห็น" เคลือบชุดโพลาไรเซอร์อย่างปลอดภัยและสม่ำเสมอบนพื้นผิวเซลล์แก้วคริสตัลเหลว ต้องการความโปร่งใสสูง ความเสถียรในระยะยาว ทนต่อสภาพอากาศ ไม่กัดกร่อน และเกิดฟอง/ข้อบกพร่องน้อยที่สุด

ภาพยนตร์ที่ออกฉาย: "ผู้พิทักษ์การขนส่ง" ปกป้องชั้น PSA จากการปนเปื้อนและการยึดเกาะโดยไม่ได้ตั้งใจในระหว่างการผลิต การขนส่ง และการจัดเก็บ จะถูกลอกออกและทิ้งก่อนกระบวนการเคลือบในโรงงานแผง

วิวัฒนาการอย่างต่อเนื่องสำหรับความต้องการในอนาคต

การแสวงหาคุณภาพของภาพที่สูงขึ้น (4K/8K, HDR), มุมมองที่กว้างขึ้น, โปรไฟล์ที่บางลง และความยืดหยุ่น ขับเคลื่อนนวัตกรรมอย่างต่อเนื่องในเทคโนโลยีโพลาไรเซอร์:

โปรไฟล์ทินเนอร์: การใช้ TAC ที่ทินเนอร์หรือวัสดุทางเลือก เช่น COP (Cyclo Olefin Polymer) หรือฟิล์ม PET

ประสิทธิภาพที่เพิ่มขึ้น: การเพิ่มประสิทธิภาพการประมวลผล PVA เพื่อเพิ่มอัตราส่วนการส่งผ่านและคอนทราสต์

มุมมองที่กว้างขึ้น: การรวมฟิล์มชดเชยแสงเพื่อลดข้อจำกัดมุมการรับชม LCD โดยธรรมชาติ

ความยืดหยุ่น: การพัฒนาโพลาไรเซอร์แบบยืดหยุ่นที่เข้ากันได้กับจอแสดงผลแบบพับได้และ OLED ที่ยืดหยุ่น


เกี่ยวกับ ซีเอ็นเค

CNK Electronics (โดยย่อของ CNK) ก่อตั้งขึ้นที่เมืองเซินเจิ้นในปี 2010 โดยได้ขยายโรงงานชั้นนำของโลกในเมืองหลงเอียน มณฑลฝูเจี้ยนในปี 2019 โดยเป็นองค์กรที่เชี่ยวชาญและสร้างสรรค์นวัตกรรมที่เชี่ยวชาญด้านการออกแบบ การพัฒนา การผลิต และการขายผลิตภัณฑ์จอแสดงผล CNK ให้บริการลูกค้าด้วยโมดูลจอแสดงผลขนาดเล็กและขนาดกลาง โซลูชัน และบริการที่มีคุณภาพดีเยี่ยมทั่วโลกอย่างครบครัน CNK มุ่งเน้นด้านเทคโนโลยีและมีคุณภาพสูง รักษาการพัฒนาที่ยั่งยืน ทำงานเพื่อเสนอบริการที่ดีขึ้นและมีเสถียรภาพแก่ลูกค้า


ส่งคำถาม

X
เราใช้คุกกี้เพื่อมอบประสบการณ์การท่องเว็บที่ดีขึ้น วิเคราะห์การเข้าชมไซต์ และปรับแต่งเนื้อหาในแบบของคุณ การใช้ไซต์นี้แสดงว่าคุณยอมรับการใช้คุกกี้ของเรา นโยบายความเป็นส่วนตัว
ปฏิเสธ ยอมรับ